股票代码
836946

选择区域/语言 在线留言3D展厅VR全景 欢迎进入新乡市草莓视频下载网址机械股份有限公司官网!

专注草莓黄片软件草莓视频在线播放40+年超10000+客户的选择

全国咨询热线: 400-0373-685 / 0373-5701115

草莓黄片软件机价格
振动筛图纸结构图原理图
返回列表 来源: 发布日期: 2021.10.22

振动筛是草莓黄片软件设备的统称,振动筛主要有精细类:旋振筛、直线振动筛、摇摆筛、超声波振动筛、直排筛等,矿用类:圆振动筛、概率筛、脱水筛、方形摇摆筛、棒条筛、滚轴筛等。所以今天小编主要将使用量较大的旋振筛、直线振动筛、圆振动筛的图纸结构图原理图给大家详细展示一下。

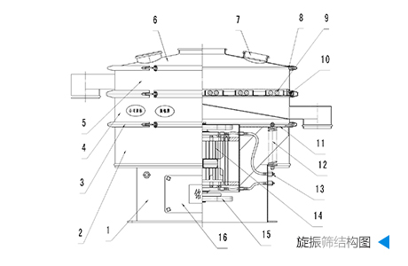
旋振筛图纸结构图原理图

  • 旋振筛图纸结构图
  • 旋振筛原理图

直线振动筛图纸结构图原理图

  • 直线振动筛图纸结构图
  • 直线振动筛原理图

圆振动筛图纸结构图原理图

  • 圆振动筛图纸结构图
  • 圆振动筛原理图

精细振动筛

矿用振动筛

客户见证

草莓视频下载网址不仅仅服务于500强企业 ……无论您在何地,草莓视频下载网址都提供完善的服务与支持。

客户见证
资质荣誉
  • 资质荣誉
  • 资质荣誉
  • 资质荣誉

咨询热线

400-0373-685
网站地图